какая длина участка управления в дц нева
Vuz-24.ru
Материалы в помощь студентам и научным работникам
Диспетчерская централизация системы “НЕВА”
ДИСПЕТЧЕРСКАЯ ЦЕНТРАЛИЗАЦИЯ СИСТЕМЫ «НЕВА»
1 Характеристика системы
Диспетчерская централизация – это комплекс устройств ж.д. автоматики и телемеханики, состоит из АБ на перегонах, ЭЦ стрелок и сигналов на станциях, системы ТУ – ТС и дающей возможность поездному диспетчеру задавать поездные и маневровые маршруты на раздельных пунктах диспетчерского участка из поста ДЦ.
ДЦ «Нева» нашла широкое распространение на сети железных дорог Украины. Она обеспечивает спорадическую (по мере надобности) управляющих сигналов и циклическую (непрерывную) передачу известительных приказов. Преимуществами системы ДЦ «Нева» по сравнению с другими системами ДЦ являются:
использование более простой и совершенной линейной цепи;
отсутствие на линейных пунктах пусковой аппаратуры (начинающих, главного и других реле);
автоматическое исправление в следующем цикле случайных искажений известительного приказа;
возможность применение на разветвлённых участках дороги и узлах;
независимость загрузки известительных каналов от размеров движения поездов.
Система «Нева» хорошо себя зарекомендовала, однако необходимость повышения эффективности применения современных средств А и Т при управлении перевозочными процессами потребовала существенного увеличения ёмкости канала ТУ в ДУ. Основноё причиной этого является стремление к осуществлению диспетчерского управления маневровыми передвижениями взамен местного. Была создана система ДЦ «Луч», в которой обеспечивается высокая достоверность и защищённость от искажений сигнала в канале ТУ.
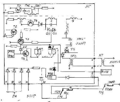
В проектируемой системе «Нева» центральный пост ЦП соединён одним физическим каналом связи с линейными пунктами ЛП, которые устраиваются по одному на каждой промежуточной станции. Канал связи, соединяющий ЦП с ЛП, используется как для передачи приказов объектам, так и для извещения о их состоянии.
Для размещения кодовой аппаратуры ЛП, а также трансляционных пунктов, применяются стативы закрытого типа. На посту ДЦ размещено выносное табло, пульт-манипулятор с поездографом (ПГ), панелью манипулятора (М), и панелью концентратора связи (КС), а также стативы 1Ц, 2Ц, О и СКР. Для посылки управляющего приказа диспетчер воздействует на кнопки пульт-манипулятора при этом срабатывает наборные реле ГН и включают реле Г. Генерируется управляющий приказ, характер которого определяется шифратором ЦШР и в соответствии с содержанием передаваемого распоряжения. Бесконтактный шифратор с наборной группой реле ГН связан через блоки БДС, исключающие образование обходных цепей. Модулятор М поочередно шунтирует колебательные контуры генератора ЦГ. Частоты управляющего приказа через разделительный фильтр Ф поступают в линейную цепь.
Р
На линейных пунктах эти частоты проходят через трансформатор 1ЛТ, усиливаются и демодулятором ЛДМ преобразуются в импульсы постоянного тока. В результате дальнейшей дешифрации при помощи повторителей реле, фиксирующих характер частоты ( П1И, П2И, ПОИ, ПАИ ), распределителя РР и избирательных реле (1ИГ — 5ИГ ) возбуждается групповое избирательное реле ГУ группы объектов, в которую поступает приказ, и регистрирующее реле Р, фиксирующее характер приказа. Включается управляющее реле У и приказ реализуется.
Известительные приказы передаются, циклически, причем последовательность их посылки от различных групп объектов определяется групповыми распределителями. Групповой распределитель, непрерывно отсчитывая кодирующие группы, определяет момент времени, когда посылка информации должна производиться с данного линейного пункта. Так, на рис.1 эту функцию выполняет групповой распределитель ГР состоящий из трех четвертичных счетчиков, размещенных в блоках 1БТГР — ЗБТГР.
В соответствующий момент времени распределитель ГР поочередно включает групповые избиратели 1ГИ — ЗГИ, которые при помощи контактов контрольных реле и блоков БДС настраивают шифратор ЛШ. Генератор ЛГ вырабатывает частоты в соответствии с этой настройкой и передает всю необходимую информацию поочередно от всех групп объектов линейного пункта. Эти частоты через трансформатор 2ЛТ поступают в линейную цепь.
На центральном посту для приема информации, передаваемой по каждому известительному каналу, устанавливается отдельный статив 2Ц с соответствующей аппаратурой. При использовании трех известительных каналов на центральном посту устанавливаются три статива. Соответствующие частоты при поступлении на пост проходят через разделительный фильтр Ф, усиливаются и демодулятором ЦДМ преобразуются в импульсы постоянного тока. При дальнейшей дешифрации в блоке ЦДШ принятая информация затем фиксируется в первой ступени регистра ЦТР. В свою очередь групповой распределитель 1ГР определяет группу объектов, из которой поступила информация, а схема проверки качества выявляет наличие в принятом цикле новой информации. Если такая информация имеется, то она передается во вторую ступень регистра ЦТР и вызывает срабатывание исполнительных реле И. Групповой распределитель при этом включает групповой избиратель ГИ и через усилитель ГУ включает избирательное реле В группы объектов, от которой поступила информация. Через контакты реле В и И включаются соответствующие контрольные реле К, осуществляющие необходимые переключения на табло. Если новой информации в принятом групповом цикле не оказывается, то реле 5, И, а также К. не возбуждаются и индикация на табло не изменяется.
Аналогично работают устройства центрального поста и при приёме информации, поступающей по другим известительным каналам.
Кодирующие группы отсчитываются групповыми распределителями центрального поста и линейных пунктов. Синфазность работы распределителей обеспечивается посылкой за 64 мс до окончания полного цикла проверки объектов с центрального поста сигнала цикловой синхронизации частотой f>3у. >Для этого установлен блок цикловой синхронизации ЦС, который совместно с общим групповым распределителем ОГР определяет периодичность и длительность передачи сигнала ЦС. Генератор ЛГ центрального поста содержит задающий каскад 4000 Гц и делитель частоты 1:32 и выдаёт на вход блока ЦС тактовые импульсы с интервалом 8 мс, обеспечивая работу этого блока и распределителя ОГР.
2 Главные характеристики системы ДЦ «Нева»
Особенностью системы «Нева» является применение циклического контроля управляемых и контролируемых объектов устройств. Информация о состоянии объектов передаётся на диспетчерский пост периодически, независимо от того, изменялось это состояние или нет. Время в течении которого на диспетчерский пост поступает информация о состоянии всех устройств на диспетчерском участке, называется длительностью цикла и при расчётной ёмкости системы равно 5376 мс. Начало каждого цикла определяется посылкой по каналу ТУ сигнала цикловой синхронизации ЦС, запускающего на каждом исполнительном пункте устройство точного отсчёта времени, разделяющее цикл 24 интервала длительностью каждый 224 мс. В каждом интервале передаётся сигнал ТС, содержащий информацию о состоянии объектов в отдельной группе, группа объединяет 20 двухпозиционных объектов. Из 24 интервалов 23 предназначены для передачи сигналов ТС, а 24-й для передачи сигнала ЦС. Увеличение ёмкости системы достигается применением нескольких частотных каналов (см. таб.1).
Диспетчерская централизация системы “НЕВА”
Диспетчерская централизация – это комплекс устройств железнодорожной автоматики и телемеханики. Преимущества системы, структурная схема, строение сигналов ТУ и ТС и назначение каждого элемента кода соответственно с заданием. Принципы синхронизации.
ДИСПЕТЧЕРСКАЯ ЦЕНТРАЛИЗАЦИЯ СИСТЕМЫ «НЕВА»
1 Характеристика системы
ДЦ «Нева» нашла широкое распространение на сети железных дорог Украины. Она обеспечивает спорадическую (по мере надобности) управляющих сигналов и циклическую (непрерывную) передачу известительных приказов. Преимуществами системы ДЦ «Нева» по сравнению с другими системами ДЦ являются:
использование более простой и совершенной линейной цепи;
отсутствие на линейных пунктах пусковой аппаратуры (начинающих, главного и других реле);
автоматическое исправление в следующем цикле случайных искажений известительного приказа;
возможность применение на разветвлённых участках дороги и узлах;
независимость загрузки известительных каналов от размеров движения поездов.
Система «Нева» хорошо себя зарекомендовала, однако необходимость повышения эффективности применения современных средств А и Т при управлении перевозочными процессами потребовала существенного увеличения ёмкости канала ТУ в ДУ. Основноё причиной этого является стремление к осуществлению диспетчерского управления маневровыми передвижениями взамен местного. Была создана система ДЦ «Луч», в которой обеспечивается высокая достоверность и защищённость от искажений сигнала в канале ТУ.
В проектируемой системе «Нева» центральный пост ЦП соединён одним физическим каналом связи с линейными пунктами ЛП, которые устраиваются по одному на каждой промежуточной станции. Канал связи, соединяющий ЦП с ЛП, используется как для передачи приказов объектам, так и для извещения о их состоянии.
Для размещения кодовой аппаратуры ЛП, а также трансляционных пунктов, применяются стативы закрытого типа. На посту ДЦ размещено выносное табло, пульт-манипулятор с поездографом (ПГ), панелью манипулятора (М), и панелью концентратора связи (КС), а также стативы 1Ц, 2Ц, О и СКР. Для посылки управляющего приказа диспетчер воздействует на кнопки пульт-манипулятора при этом срабатывает наборные реле ГН и включают реле Г. Генерируется управляющий приказ, характер которого определяется шифратором ЦШР и в соответствии с содержанием передаваемого распоряжения. Бесконтактный шифратор с наборной группой реле ГН связан через блоки БДС, исключающие образование обходных цепей. Модулятор М поочередно шунтирует колебательные контуры генератора ЦГ. Частоты управляющего приказа через разделительный фильтр Ф поступают в линейную цепь.
Рис. 1 Структурная схема ДЦ «Нева».
На центральном посту для приема информации, передаваемой по каждому известительному каналу, устанавливается отдельный статив 2Ц с соответствующей аппаратурой. При использовании трех известительных каналов на центральном посту устанавливаются три статива. Соответствующие частоты при поступлении на пост проходят через разделительный фильтр Ф, усиливаются и демодулятором ЦДМ преобразуются в импульсы постоянного тока. При дальнейшей дешифрации в блоке ЦДШ принятая информация затем фиксируется в первой ступени регистра ЦТР. В свою очередь групповой распределитель 1ГР определяет группу объектов, из которой поступила информация, а схема проверки качества выявляет наличие в принятом цикле новой информации. Если такая информация имеется, то она передается во вторую ступень регистра ЦТР и вызывает срабатывание исполнительных реле И. Групповой распределитель при этом включает групповой избиратель ГИ и через усилитель ГУ включает избирательное реле В группы объектов, от которой поступила информация. Через контакты реле В и И включаются соответствующие контрольные реле К, осуществляющие необходимые переключения на табло. Если новой информации в принятом групповом цикле не оказывается, то реле 5, И, а также К. не возбуждаются и индикация на табло не изменяется.
Аналогично работают устройства центрального поста и при приёме информации, поступающей по другим известительным каналам.
Кодирующие группы отсчитываются групповыми распределителями центрального поста и линейных пунктов. Синфазность работы распределителей обеспечивается посылкой за 64 мс до окончания полного цикла проверки объектов с центрального поста сигнала цикловой синхронизации частотой f3у. Для этого установлен блок цикловой синхронизации ЦС, который совместно с общим групповым распределителем ОГР определяет периодичность и длительность передачи сигнала ЦС. Генератор ЛГ центрального поста содержит задающий каскад 4000 Гц и делитель частоты 1:32 и выдаёт на вход блока ЦС тактовые импульсы с интервалом 8 мс, обеспечивая работу этого блока и распределителя ОГР.
2 Главные характеристики системы ДЦ «Нева»
Особенностью системы «Нева» является применение циклического контроля управляемых и контролируемых объектов устройств. Информация о состоянии объектов передаётся на диспетчерский пост периодически, независимо от того, изменялось это состояние или нет. Время в течении которого на диспетчерский пост поступает информация о состоянии всех устройств на диспетчерском участке, называется длительностью цикла и при расчётной ёмкости системы равно 5376 мс. Начало каждого цикла определяется посылкой по каналу ТУ сигнала цикловой синхронизации ЦС, запускающего на каждом исполнительном пункте устройство точного отсчёта времени, разделяющее цикл 24 интервала длительностью каждый 224 мс. В каждом интервале передаётся сигнал ТС, содержащий информацию о состоянии объектов в отдельной группе, группа объединяет 20 двухпозиционных объектов. Из 24 интервалов 23 предназначены для передачи сигналов ТС, а 24-й для передачи сигнала ЦС. Увеличение ёмкости системы достигается применением нескольких частотных каналов (см. таб.1).
74 Диспетчерская централизация системы Нева
ДИСПЕТЧЕРСКАЯ ЦЕНТРАЛИЗАЦИЯ СИСТЕМЫ «НЕВА»,
ПРНЦИПЫ ЕЕ ПОСТРОЕНИЯ, ОСНОВНЫЕ
НЕИСПРАВНОСТИ И МЕТОДЫ ИХ УСТРАНЕНИЯ.
ДИСПЕТЧЕРСКАЯ ЦЕНТРАЛИЗАЦИЯ СИСТЕМЫ «НЕВА»
Передача сигналов ТС от различных ЛП и групп контролируемых устройств, в пределах станции разделены по времени, что дает возможность использовать один канал для передачи сигналов ТС с нескольких ЛП (линейный пункт).
Рекомендуемые файлы
Групповые распределители, определяющие порядок занятия каналов ТС на станциях, охвачены общей системой синхронизации, построенной на принципе стартстопной системы. Сигналы синхронизации передаются по каналу ТУ. В кодовых устройствах использованы полупроводниковые логические схемы, исключением являются устройства для приемов сигналов на линейных пунктах, построенные на релейно – контактной аппаратуре. Аппаратура ДЦ системы «Нева» размещена на типовых унифицированных кодовых стативах, не требующих индивидуального проектирования.
Аппаратура системы «Нева» дает возможность управлять диспетчерскими участками, удаленными от поста ДЦ практически на любое расстояние. При этом связь от поста до диспетчерского участка осуществляется по каналам ВЧ, а в пределах диспетчерского участка – по физическим двухпроводным линейным цепям. В тех случаях, когда длина линейной цепи превышает предельную длину усилительного участка для данных типов цепи и конечной аппаратуры, организовывают усилительные пункты (УП), которые дают возможность разветвлять линейные цепи с компенсацией потерь на расфильтровку и развязку или с одновременным усилением сигналов,
ПОСТРОЕНИЕ СИГНАЛОВ УТ.
Для построения сигналов ТУ используются 4-е тональные частоты: f 1у = 500Гер(а), f 2у = 600Гер(п), f3у = 700Гер(а), f4у = 800Гер(п). Сигнал ТУ содержит один начальный и 18 рабочих импульсов.
Начальный (нулевой) посылается всегда на частоте f2у, нечетные рабочие импульсы – частотами f3у, f4у, четные – f1у или f2у. Нулевой импульс предназначен для настройки всех ЛП на прием сигнала ТУ.
Рабочие импульсы 1- 6 предназначены для выбора станции, а 7,8,9 и 18 – для выбора на станции группы объектов. Импульсы с 10 – 17 используются для передачи команд выбранной группе объектов. Выбор станции осуществляется комбинациями трех активных импульсов среди первых по порядку шести импульсов. Максимальное число настроек на разные станции составляет 20. Число групп определяется сочетанием двух активных импульсов из четырех (7,8,9,18) и составляет шесть групп. Там, где требуется седьмая группа. Применяется комбинация из четырех активных импульсов. С помощью остальных восьми импульсов (10-17)могут быть переданы команды восьми двухпозиционным объектам.
Емкость по управлению: система позволяет управлять двадцатью станциями. На каждой станции может быть включено до семи групп объектов. Максимальное число объектов на одной станции 56, а на всех 20 станциях – 1120.
Продолжительность передачи сигнала ТУ.
Полное число импульсов сигнала ТУ равно 19. Длительность нулевого импульса 144мсек, каждого из последующих восемнадцати – 48 мсек. Общая длительность передачи сигнала ТУ составляет 144+(18*48)= 1008 мсек.
Сигналы ТС передаются циклическим способом. В течение цикла по одному каналу ТС передается 23 сигнала. Сигнал ТС не содержит тактовых импульсов. Тактовые импульсы, обеспечивающие работу распределителей, выдаются генераторами тактовых импульсов, установленными на посту и каждом ЛП.
Отсутствие в сигнале ТС тактовых импульсов позволяет передавать соседние импульсы одинаковыми частотами. Поэтому для передачи сигналов ТС в каждом канале используются только две частоты:
Частота f1и, более низкая по сравнению с частотой f 2и, является активной, частота f2и – пассивной.
Сигнал ТС состоит из 22 тактов, из них начальный и завершающий разграничивают рабочую часть сигнала от интервала, остальные двадцать рабочих тактов несут информацию о состоянии объектов. В начальном и завершающем тактах всегда передается активная частота. В сигнале ТС применен чисто распределительный метод избирания. Каждый рабочий такт передает информацию независимо от других тактов.
Очередность передачи сигналов.
Очередность передачи сигналов ТС, относящиеся к различным группам контрольных объектов, обеспечивается синхронной работой на ЦП и ЛП местных генераторов тактовых импульсов, приводящих в движение тактовые и групповые распределители. Генераторы тактовых импульсов запускаются в каждом цикле от общего сигнала цикловой синхронизации, передаваемого с ЦП по каналу ТУ.
Нормально в канале ТУ находится частота покоя f4у. За 64 мсек до окончания полного цикла проверки объектов в канал ТУ посылается сигнал синхронизации f3у. При этом частота f3у приводит все тактовые и групповые распределители в исходное состояние, и прекращают работу местных генераторов тактовых импульсов. Через 64 мсек частота f3у меняется на частоту f4у, в результате чего местные генераторы тактовых импульсов на всех ЛП одновременно отпираются и начинают выдавать импульсы, приводящие в действие распределители.
Если идет сигнал ЦС (цикловая синхронизация ), то сигнал ТУ задерживается, и наоборот.
Емкость системы по извещению.
По одному каналу ТС за время одного цикла может быть проконтролировано состояние 23 групп двух позиционных объектов, причем каждая группа включает в себя 20 объектов.
Продолжительность передачи сигналов ТС.
Продолжительность передачи 28 тактов равна 28*8 – 224мсек. Число групп в канале составляет23, а с учетом ЦС – 24. Следовательно, продолжительность одного цикла передачи сигнала ТС 224*24 = 5376 мсек.
СТРУКТУРНАЯ СХЕМА УСТРОЙСТВ ЛП.
Сигналы ЦС принимаются и реализуются релейной схемой, в которой участвуют контакты реле ПАИ, ПОИ, П2И, А, ПА, Ц. Сигнал «Стоп» подается по проводу 1, а сигнал «Пуск» – по проводу 2.
Перечисленные ниже блоки участвуют в передаче сигнала ТС.
Линейный генератор ЛГ – генерирует рабочие частоты канала ТС и содержит пусковой триггер и генератор тактовой частоты 4000Гц с делителем частоты 1:32.
Линейный шифратор ЛШ, получающий тактовые импульсы от блока ЛГ и непрерывно работающий как делитель частоты 1:28, во время передачи сигнала ТС блок ЛШ управляет частотой генератора ЛГ в соответствии с положением контактов контрольных реле объектов данной группы.
Блоки 1ГИ, 2ГИ, 3ГИ обеспечивают выбор при передаче сигнала ТС до 6 групп контролируемых объектов, каждая из которых содержит 20 объектов. Выходы блоков ГИ соединяются с выходами группового распределителя ГР. Их назначение заключается в образовании соединения между блоками ЛГ и ЛШ через контакты выбранной группы контрольных реле объектов.
Блоки БДС содержат диоды, используемые в цепях, связывающие блоки ЛГ и ЛШ через контакты контрольных реле объектов и устраняющие возможность образования в этих соединениях обходных цепей.
РАБОТА КОДОВОЙ АППАРАТУРЫ ПРИ ПЕРЕДАЧЕ СИГНАЛА ТС НА ЛП.
На ЛП для циклической передачи сигнала ТС применена бесконтактная аппаратура в виде линейного шифратора ЛШ, группового распределителя ГР, трех блоков группового избирания ГИ, шести диодных блоков БДС, линейного генератора ЛГ.
Полное число тактов, отсчитываемое распределителем – 28. Из них 1 и 22 начальным и завершающим, 20 рабочих, от которых образуются выходы 2/1 – 2/20, шесть тактов образуют интервал между двумя подряд посылаемыми сигналами ТС. Счетная схема ЛШ одновременно выполняет функции делителя частоты 1:28. При поступлении 28 тактов по 8мс каждый на выход 1/5, через 224мс выдается один импульс на выходе 1/4 для воздействия на групповой распределитель ГР.
Для сокращения полного цикла на 4 такта осуществлена обратная связь с помощью триода Т10
Таким образом, ЛШ является датчиком времени (точного) для работы ГР. Триод Т1 участвует в образовании интервала между сигналами ТС. Он открывается при нахождении распределителя в позициях 1 и 24 – 28, во всех других – закрыт.
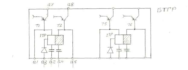
Он собирается из трех блоков БТГР. Выполняет функции точного отсчета времени подключения каждой группы контроля в канал ТС. Распределитель представляет счетную триггерную схему, на общий вход которой поступают импульсы с точным интервалом времени 224мсек.
От каждого импульса распределитель передвигается на один шаг, образуя цепи настройки для подключения очередной группы контроля. Эти цепи сохраняются в течение 224мсек, т.е. на время, которое требуется для передачи сигнала ТС с данной группы контроля. Передвигаясь в следующую позицию, ГР отключает данную группу контроля и подключает следующую и т.д.
Каждый блок БТГР состоит из двух триггеров с усилительными триодами, образующими четверичный счетчик. При любом положении триггеров один усилительный триод закрыт и образует отрицательный выход, три усил. триода открыты и выходов не образуют.
От поступления на вход а2 блока БТГР первого импульса от ЛШ триггер 1 ТР переключится в состояние 1, триггер 2ТР сохраняет состояние 0. При этом закроется Т1, откроется Т6. Триоды Т2 и Т5 остаются открытыми. Образуется комбинация выходов всего распределителя а7, с6, а8, которые используются для настройки первой группы контроля ЛП.
От второго импульса ЛШ в ГР открываются выходы а8, с8, а8 для настройки второй группы контроля, от третьего импульса – выходы с7,с8, а8 для настройки третьей группы контроля, от 23-го импульса – выводы с7, а7, а7 для настройки последней 23- й группы контроля.
Блок группового избирания ГИ предназначен для подключения контактов контрольных реле каждой группы объектов к модулятору генератора ЛГ на время передачи сигнала ТС с данной группы. Каждый блок ГИ обслуживает две группы контроля, максимальное число групп данного ЛП равно шести. Число контактов контрольных реле в одной группе 20, всего к ЛГ может подключиться 120 контактов контрольных реле. Блок ГИ каждой группы настраивается на номер своей группы с помощью 3-х перемычек от его входов а2, а3, и а4 (с2, с3 и с4) к выходам ГР.
Выходы а1(с1) ГИ соединяются с выходами 1/1 ЛШ для фиксации интервала между двумя соседними сигналами ТС. До момента включения 1 группы контроля в блоке 1ГИ высоким потенциалом на входах а2, а3 и а4 закрыт триод Т1, Т2 и открыт Т3. При таком состоянии схемы заперт диод Д9, чем прерывается цепь прохождения тока между выводами а0 – а6, а также заперта входная цепь а9.
На 28 такте этого сигнала от ЛШ подается импульс на ГР и переключает его в положение второй группы контроля. При этом на одном из входов а2, а3, а4 блока 1ГИ повышается потенциал, закрываются триоды Т1 и Т2, открывается Т3 и восстанавливается состояние блока, при котором запираются цепи ЛГ и прекращается передача сигнала ТС с первой группы контроля.
Линейный генератор ЛГ.
В блоке ЛГ помещены генератор частоты сигнала ТС – ГЧС и генератор тактовых импульсов-ГТЧ
Генератор ГЧС вырабатывает частоты f1и и f2и и состоит из генератора частоты, модулятора частоты, ключевой схемы запуска генератора и выходного усилительного каскада.
Генерация частоты происходит на транзисторе Т4, в полной цепи которого включен задающий колебательный контур ЗК, настроенный на частоту f2и. Незатухающие колебания поддерживаются за счет положительной обратной связи с помощью обмоток 1 и 3 трансформатора Тр3. Качественная модуляция осуществляется триодом Т3. При открытии триода он создает смещение диоду Д10 и к контуру ЗК подключается дополнительная емкость С1, отчего генератором вырабатывается активная частота f1и.
НЕИСПРАВНОСТИ УСТРОЙСТВ ДЦ И
ДЕЙСТВИЯ МЕХАНИКА ПРИ ИХ ВОЗНИКНОВЕНИИ.
1. Выключились все станции с контроля ДЦ
1.2. Сигнал ТУ и ЦС в норме.
Проверить наличие сигнала ТС. Сигнал ТС отсутствует – повреждение канала ВЧ, кодовой линии или статива УП, или на всем участке нет электроэнергии. Сообщить в ЛАЗ, ЭЧЦ, ШЧД.
1.3 Сигнал ТС имеется, но очень низкий уровень.
1.4 На контроле одна или несколько первых станцый.
1.5 Включены в контроль несколько станций, остальных нет.
2. Выключились с контроля станции одного из каналов ТС ( ТС2, ТС3, ТС4)
2.1. Сигнал ТС с данных станций идет и сигнал его в норме.
Проверить предохранитель на стативе 2Ц.
Переключить аппаратуру на стативе 2Ц на резервный комплект, если работа востановилась то, неисправны блоки ЦДШ, ЦДМ, заменить и проверить на испытательном стенде.
Проверить есть ли сигнал после ЦУ на стативе 1Ц, если сигнала нет, заменить ЦУ.
3. Выключилась с контроля одна станция (нет ТС).
3.1. Был послан приказ «ОК» – послать приказ «ВК».
3.2. На станции отсутствует электроэнергия.
3.3. Перегорел предохранитель на линейном стативе.
3.4. Неисправен статив Л (возможно блок ЛГ)
Попробовать послать приказ «И», вынуть дужку ТУ. Если частоты поступают и с дужкой ТУ и без нее, возможно, что ЛГ и работает, а неисправны другие элементы: БТГР, ГИ, ЛШ.
3.5. На стативе Л не работает реле «Ц» – разрегулировалось. Оно может не работать, если неисправен блок ЛДМ, перегорел предохранитель станционной батареи на линейном стативе или понижено напряжение на этой батареи.
4 Выключилась с контроля одна станция ( ТС есть, но уровень слабый).
4.1. Произошла разрегулировка сопротивления R10 на стативе Л. Измерить приходящий
уровень. На ст.1Ц на фильтре ФА попробовать увеличить общий уровень ТС. Если станция включится – вызвать ШН на станцию для регулировки уровня.
4.2. Неисправен блок ЛГ.
5 Станция дает сбой информации
5.1. По осцилографу посмотреть форму сигнала ТС, померить уровень сигнала. Если уровень ниже норы, то временно добавить общий уровень на ФА.
Послать приказ «И», на осцилографе посмотреть сигнал, вынуть дужку ТУ, тоже посмотреть сигнал. Если в одном из случаев нет частоты, то неисправен блок ЛГ на станции.
6. Идет сбой информации по всем станциям круга.
6.1Помеха в канале ВЧ или в кодовой линии. Отключением станций выяснить, откуда идет помеха, вызвать причастных работников для ее устранения. Если помеху дает одна из станций, вызвать на эту станцию ДСП и отключить ее с контроля до устранения неисправности. Если дает помеху КЛ после этой станции, послать приказ на ОЛ (отключение линии), что даст нормальную работу участка до этой станции.





